5V1A充电器方案
字号:T|T
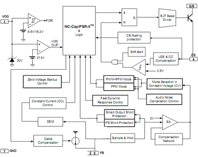
深圳91免费福利网站电子近期推出了低成本,小体积的5V1A充电器方案-SF6022,此款芯片是赛威科技提供的。
该方案在满足了平均效率达到能效6级,可过EMI,原边反馈,省去了431和光耦,节省成本,无需外部补偿电容,同时还具备了短路保护、过压保护和开环保护等保护功能,是一款综合性能指标优异性价比高的5V 1A充电器方案。
框架图
框架图

上一篇: 能提供三种不同电流的车充IC方案 下一篇:5V1A旅充芯片-SD6953
同类文章排行
- 一款适配器的AC-DC转换芯片介绍-SD4873
- 士兰微推出AC/DC 5V/1A充电器解决方案SD69
- SF6773 650V功率电源手机充电器芯片
- 芯龙12V/5A DC/DC低成本电源芯片方案-XL150
- NCE现货n沟道mos管NCE6003Y磁场应管SOT23-3
- PN836891免费福利下载APP手机充电器IC方案
- 4842mos管sop-8场效应管30V / 7.7A双N沟道
- 优势供应PNP型LMBT3946DW1T1三极管双通用SO
- 士兰微推出AC-DC转换芯片-SD6830
- 91免费福利网站电子5V转12V升压芯片-XL6019
阿里巴巴店铺
关注91免费福利网站
收藏91免费福利网站

