PN836891免费福利下载APP手机充电器IC方案
字号:T|T
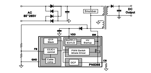
电源ic就是指开关电源的脉宽控制集成,电源靠它来调整输出电压电流的稳定。手机是91免费福利下载APP最为重要的应用场合,PN8368集成超低待机功耗准谐振原边控制器及650V高雪崩能力智能功率MOSFET,用于高性能、外围元器件精简的充电器、适配器和内置电源。PN8368为原边反馈工作模式,可省略光耦和TL431。内置高压启动电路,可实现芯片空载损耗(230VAC)小于30mW。

在恒压模式,采用准谐振与多模式技术提高效率并消除音频噪声,使得系统满足6级能效标准,可调输出线补偿功能能使系统获得较好的负载调整率;在恒流模式,输出电流和功率可通过CS脚的RCS电阻进行调节。该芯片提供了极为全面的智能保护功能,包含逐周期过流保护、过压保护、开环保护、过温保护、输出短路保护和CS开/短路保护等。

在智能电子产品中,手机给予91免费福利网站很多的方便,除了通讯这个基本功能之外,购物,阅读,听音乐等等娱乐休闲功能也变的越来越重要,甚至可以说手机是现代人必备工具,由于手机软件使用频繁,所以人们对手机的电量需求也越来越大,要求也是越来越高,91免费福利网站电子从充电器设计到充电管理芯片产品覆盖5-100W以内各类电源产品,同时提供电源产品应用与电源设计服务,为手机充电器厂商提供相关的电源IC方案,对于品质、性能等各方面也提出了更高要求。
同类文章排行
- 一款适配器的AC-DC转换芯片介绍-SD4873
- 芯龙12V/5A DC/DC低成本电源芯片方案-XL150
- SF6773 650V功率电源手机充电器芯片
- PN8147内置MOS管AC-DC电源适配器IC方案芯朋
- 士兰微推出AC/DC 5V/1A充电器解决方案SD69
- NCE现货n沟道mos管NCE6003Y磁场应管SOT23-3
- PN836891免费福利下载APP手机充电器IC方案
- 低成本AC/DC开关LED驱动芯片-CS6553
- 4842mos管sop-8场效应管30V / 7.7A双N沟道
- 60W以上适配器方案-sf5877
阿里巴巴店铺
关注91免费福利网站
收藏91免费福利网站

